最近,乘法君被来自上海保洁阿姨的“你是什么垃圾?”灵魂拷问给洗脑了,现在上海市民出门不谈国际局势、不谈股市变动,一门心思都扑在垃圾分类上,每天出门扔垃圾,都要接受保洁阿姨直击心灵的拷问:“你是什么垃圾?”,作为吃瓜群众的我们,想想就觉得很有趣呢!

前几天,全国各地的网友还在各大网络社交平台上“友善的嘲笑”上海市民,对上海市民朋友的“疾苦”表示深切的同情。然而这几天,大家的笑容就逐渐开始凝固了,原因是国家又出台了新通知—— 《住房和城乡建设部等部门关于在全国地级及以上城市全面开展生活垃圾分类工作的通知》,通知中提到:即将在北京、天津等全国46个重点城市全面启动生活垃圾分类工作。
这就意味着除了上海之外,马上就有45个城市的居民,即将要面对“你是什么垃圾”的灵魂拷问了。

此外,乘法君还发现全国各地的垃圾分类规定和上海的“干湿垃圾”不一样。也就是说,我们现在学到的上海的垃圾分类标准,很可能在我们自己所在的城市行不通,这瞬间让所有人心碎了!
垃圾分类已经渐渐成为“全民痛点”,照这样下去,乘法君估计,高校有必要专门针对垃圾分类开设一门普及课,否则我们的工资收入好像还不够用来填补因为未按照规定扔垃圾而造成的罚款。

当然不是!!!其实很多公司和环卫机构的研发人员已经在研究智能垃圾分类机器人了,并且也取得了一定成果,相信不久后我们就可以看到垃圾分类机器人为我们服务了,下面跟着乘法君去看看他们的研究成果吧!
目前大多数人认为垃圾分类机器人在未来将为我们完成垃圾分类的工作,那么什么是垃圾分类机器人?现在业界对于垃圾分类机器人的研究又到了什么阶段呢?
其实智能垃圾分类机器人是将传统的垃圾收集箱和人工智能进行结合后的产物,结合了垃圾收集箱的收集功能和人工智能的特性,形成了自行式智能垃圾分类机器人,目前对于智能垃圾分类机器人也已经到了比较成熟的阶段。乘法君觉得在目前国家政策的影响下,智能垃圾分类机器人距离商用已经不会太远了。
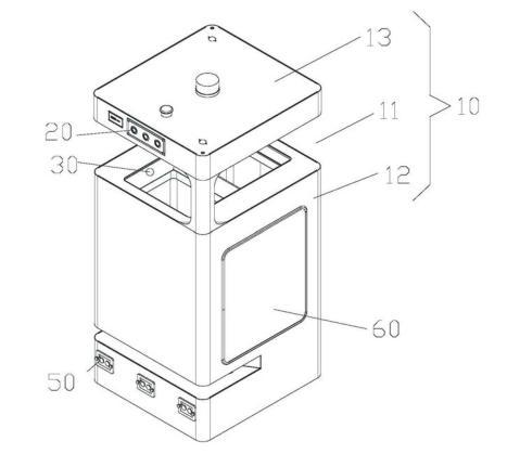
下面我们一起来看看北京京环装备设计研究院有限公司在2019年3月28日公开的智能垃圾收集机器人的发明专利(申请号:4.2)。

智能垃圾收集机器人包括:垃圾收集机器人主体10、控制结构、分类探测结构20和垃圾投放标识30。
垃圾收集机器人主体10包括垃圾投放口11和与垃圾投放口11相连通的多个垃圾放置空间。
控制结构设置在垃圾收集机器人主体10内,分类探测结构20包括分类探测器21,分类探测器21设置在垃圾收集机器人主体10上,并与控制结构相连。
垃圾投放标识30与控制结构相连,以使控制结构通过分类探测器21采集的垃圾信息控制垃圾投放标识30与垃圾相对应。
具体使用过程如下:使用者向智能垃圾收集机器人投放垃圾时,分类探测器21检测到垃圾后,将垃圾的信息传递至控制结构,控制结构控制垃圾投放标识30告知使用者应该将垃圾投放在正确的垃圾放置空间内,这样使用者很容易获取垃圾应该投放的空间,有效地解决了现有技术中的垃圾分类投放时比较困难的问题。
总结:虽然北京京环装备设计研究院有限公司关于垃圾收集机器人的这个技术方案比较简单,智能化程度也比较低(只完成识别,最终还需要我们将垃圾放入指定的垃圾放置空间),但是这种智能垃圾收集机器人确实解决了垃圾分类困难的问题,并且从实用性角度来看,短期内更具备商业化的可能性。
智能垃圾分类过程中的一个难题是缺少一种垃圾分类综合管控的方法和系统,特别是在管控力度较为薄弱的乡镇地区,大家甚至都不太了解垃圾分类的概念,当地政府对垃圾分类进行管理,因此垃圾分类工作开展起来可以说是相当困难!
杭州电子科技大学在2019年6月7日公开了一篇基于物联网技术的智能垃圾分类系统及工作方法的发明专利(申请号:6.1),通过给每一住户的垃圾桶安装一个RFID芯片,以有效获取垃圾分类源头信息,政府可以根据垃圾分类源头信息对日常垃圾分类行为产生监管作用。

在智能垃圾分类系统运行前,由政府为每一住户统一发放垃圾桶,该垃圾桶由厨余垃圾收集和其他垃圾收集两个部分组成,用于垃圾的分类处理,同时每个垃圾桶安装无源RFID标签,标签安装在垃圾桶的外盖上,通过RFID标签将农户个人信息(如电话号码或身份证号)与使用的垃圾桶进行关联,确保垃圾分类工作涉及到每一位农户。
在使用过程中,每天早上由垃圾收运员使用手持终端设备对每一户进行身份识别,并对农户垃圾分类情况进行评价,如果评价为不好的,这个时候打开拍照功能,将分类错误的垃圾拍照,同时在垃圾运输车上对垃圾进行称重,通过蓝牙功能将重量信息传输到手持终端,然后将评价信息、拍摄照片和垃圾重量信息通过无线方式上传到分类后端云平台系统,留下证据。
后端云平台系统在收到上传的信息后,以地图方式显示大数据统计信息,某个区域(比如乡或镇或村)的综合评价,垃圾分类好评、一般和差评,并针对评价显示积分,以颜色或图案来显示。排名靠前的乡镇村和排名靠后的乡镇村进行区别显示。点击某个乡镇,都可以看到相应的信息住户的垃圾分类情况,以一天、一周、一个月的方式进行显示。
同时个人用户可以通过微信,网站等方式在系统中看到自己的打分、总积分和排名。打分不好的通过微信推送消息,并伴有不合格的垃圾照片显示,用户按照积分高低进行相应的商品兑换。
总结:这篇基于物联网技术的智能垃圾分类系统及工作方法的技术方案,通过人工检查、排序、评分的方式推进了人们的垃圾分类管理。但在乘法君看来是存在一些理想化因素的,也许这个技术方案能实现的机会并不大,但也算是给我们提供了垃圾分类处理管控的参考方向。


